免费在线国产视频,亚洲电影av,久久久免费视频观看,久久成人免费电影,99爱在线视频这里只有精品,久久中文综合,亚洲国产系列

Hubei Dayu Hanguang Vacuum Electric Co.,Ltd.
CN EN

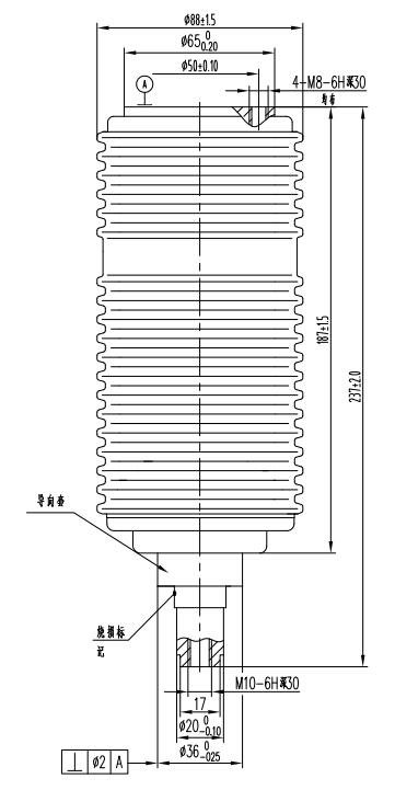
Vacuum interrupter for outdoor circuit breaker TD314D

Model:VITD12/1250-25

Category:VI for outdoor circuit breakers

Product details

1435903064159249.jpg
Main Technical Parameter
Rated voltage12kV
Rated current1250A
Rated frequency50Hz
Rated short-time Power frequency withstand voltage42kV
Rated lightning impulse withstand voltage75kV
Rated short-circuit breaking current20/25kA
Rated short-circuit making current(peak)50/63kA
Breaking operations of rated short circuit breaking current30 times
Rated breaking current of single capacitor bank400A
Rated short-time withstand current20/25kA
Rated peak withstand current50/63kA
Rated duration of short-circuit4 s
Mechanical endurance10000 times
Closing force due to bellow and atmosphere70±40N
Force required to hold contacts open at full storke120±50N
Circuit resistance at lowest rated contact force≤30μ?
Storage life20 years
Contacts limit erosion3mm
Weight of movable parts≤0.7 kg
MECHANICAL DATA REQUIRED FOR THE MATCHED VACUUM SWITCHGEAR
Clearance between open contacts9±1 mm
Contact connection stroke3.5±0.5mm
Average opening speed(average of 75% contact gap)1.0±0.25m/s
Average closing speed(average of last 30% contact gap)0.65±0.15m/s
Rated added extemal contact final force1600±100N
Contact bouncing duration at closing operation≤2 ms
Closing and opening non-simultaneity of three-phase contacts≤1 ms

Relevant information